Комплексные поставки электрооборудования

Фильтры присоединения нулевой последовательности

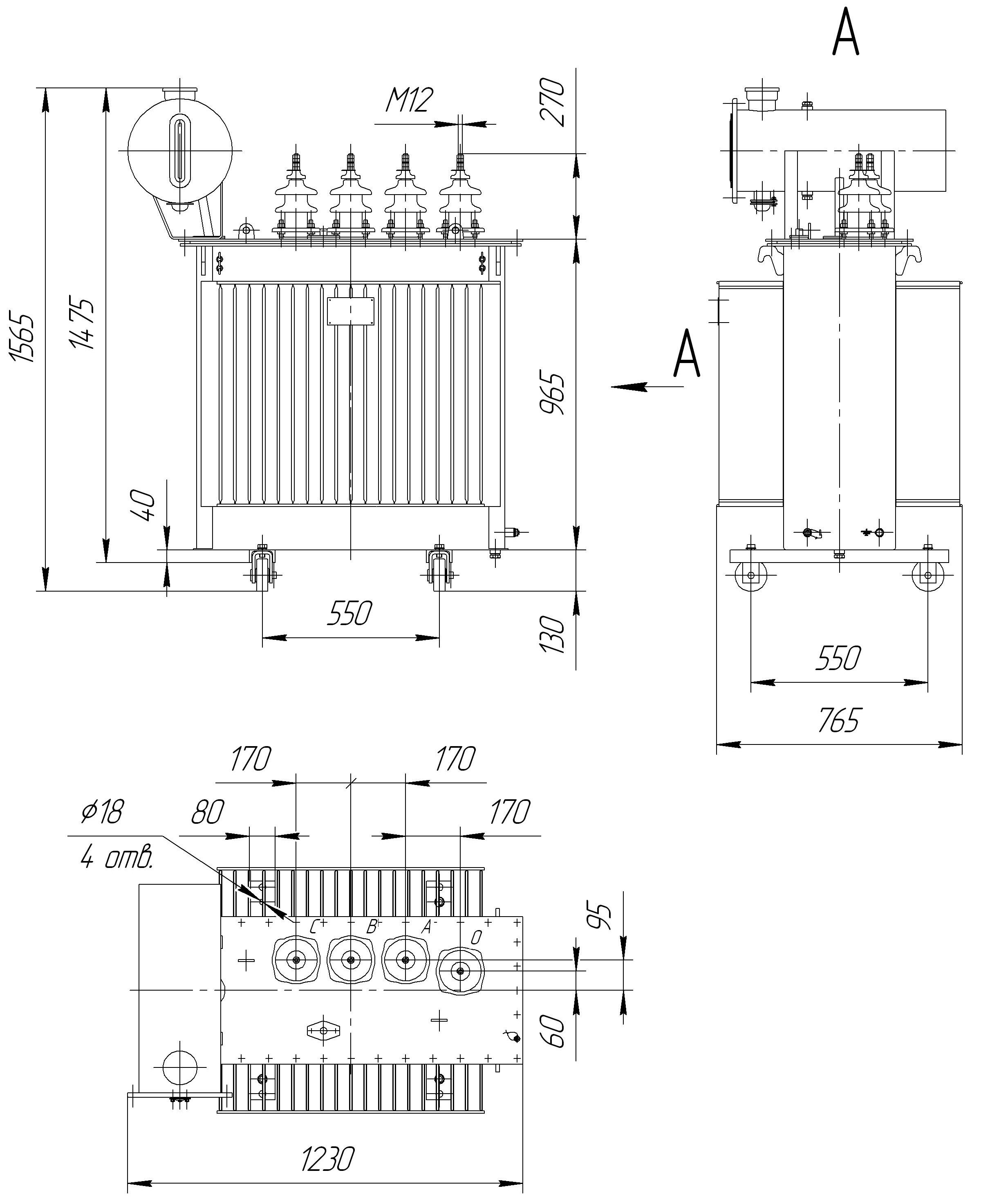
Фильтр ФМЗО производства РЭТЗ ЭнергияДугогасящие реакторы РУОМ и высокорезистивное сопротивление ВРС присоединяются к сети напряжения 6 и 10 кВ через силовой фильтр нулевой последовательности ФМЗО, представляющий собой маслонаполненный трехфазный трансформатор, не имеющий низковольтной вторичной обмотки. Сварной бак фильтра заполнен очищенным трансформаторным маслом, имеющим пробивное напряжение не ниже 40 кВ. Фильтры ФМЗО 200-875 снабжены радиаторными охладителями. К верхней части бака приварены крюки для подъема собранного и залитого маслом фильтра. В нижней части имеются два болта заземления и сливная пробка, конструкция которой позволяет при частичном отвинчивании брать пробы масла. В дне бака имеется пробка для удаления продуктов старения масла. К дну бака приварены пластины (швеллеры), в которых имеются отверстия для крепления фильтра к фундаменту. В фильтрах, начиная с мощности 200 кВА, предусмотрены катки для передвижения. На крышке бака начиная с ФМЗО-80 кВА смонтирован расширитель с маслоуказателем и воздухоосушителем.

 

Основные технические характеристики фильтров

Тип фильтра

ФМЗО-

40/6,6

ФМЗО-

40/11

ФМЗО-

80/6,6

ФМЗО-

80/11

ФМЗО-

200/6,6

ФМЗО-

200/11

Номинальное линейное напряжение, кВ

6,6

11

6,6

11

6,6

11

Номинальный ток, А

8,4

5

16,8

10,1

42

25,2

Максимальный ток, А

10,5

6,3

21

12,6

52,5

31,5

Ток холостого хода, А

в %% к 1/3 ном. тока, %

0,04

2

0,03

1.8

0,1

1.5

0,1

1.5

0,15

1.1

0,15

1.8

Потери холостого хода, Вт

100

100

160

160

250

250

Напряжение КЗ, %

3

3

3,2

3,2

4,2

4,2

Потери КЗ, Вт

600

600

1200

1200

3000

3000

 

Тип фильтра

ФМЗО-

310/6,6

ФМЗО-

310/11

ФМЗО-

500/6,6

ФМЗО-

500/11

ФМЗО-

875/6,6

ФМЗО-

875/11

Номинальное линейное напряжение, кВ

6,6

11

6,6

11

6,6

11

Наибольшее рабочее напряжение, кВ

7,2

12

7,2

12

7,2

12

Номинальный ток, А

65,1

39,1

105

63

183,7

110

Максимальный ток, А

81,4

48,9

131,2

78,75

229,6

137,7

Ток холостого хода, А

в %% к 1/3 ном. тока, %

0,3

1.4

0,2

1.5

0,25

0,7

0,15

0.7

0,6

1

0,35

1

Потери холостого хода, Вт

550

600

850

850

800

800

Напряжение КЗ, %

3,5

3,6

5,5

5,5

6

6

Потери КЗ, Вт

3500

3700

5000

5000

6000

6000

По требованию заказчика возможно изготовление с другими характеристиками.

 

doc1Свидетельство официального партнера

doc1Габаритный чертеж ФМЗО-40 УХЛ1

doc1Габаритный чертеж ФМЗО-80 УХЛ1

doc1Габаритный чертеж ФМЗО-200 УХЛ1

doc1Габаритный чертеж ФМЗО-310 УХЛ1

doc1Габаритный чертеж ФМЗО-500 УХЛ1

doc1Габаритный чертеж ФМЗО-875 УХЛ1

Контакты
Адрес:
197341, Санкт-Петербург
ул. Афонская д. 2, оф. 3-329
Оставьте заявку на сайте
Яндекс.Метрика